Hệ thống cảm biến mới của Apple giúp ô tô “giao tiếp” với nhau
Hệ thống cảm biến mới của Apple được cho là sẽ ngăn chặn hoặc làm giảm mức độ nghiêm trọng của các vụ tai nạn.

Nhờ chức năng giao tiếp này, hệ thống cảm biến mới của Apple được cho là sẽ ngăn chặn hoặc làm giảm mức độ nghiêm trọng của 80% các vụ tai nạn không liên quan đến rượu. Bên cạnh đó, hệ thống này được mô tả là giống với hệ thống phát hiện điểm mù đang được sử dụng rộng rãi ngày nay.
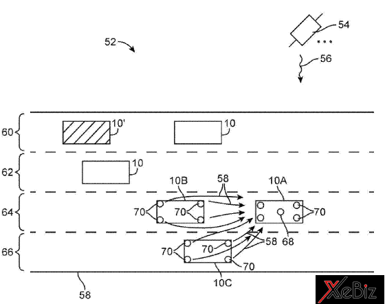
Với hệ thống cảm biến mới của Apple sẽ giúp xe quét mọi động tĩnh đang diễn ra xung quanh đồng thời giao tiếp với hệ thống cảm biến hay GPS của những chiếc xe khác nhờ công nghệ không dây Bluetooth tầm ngắn. Mọi thông tin thu thập được sẽ được hiển thị lên bảng điều khiển của lái xe, nhờ đó lái xe có thể biết được việc có xe khác đang cố vượt qua hay có xe cấp cứu đang di chuyển.

Apple đang gửi đơn xin cấp bằng sáng chế cho hệ thống cảm biến mới. Tuy nhiên để đưa hệ thống này vào thương mại hóa thì còn phụ thuộc vào nhiều yếu tố.
Thêm nữa, khái niệm những chiếc xe có thể “giao tiếp” với nhau cũng đã được nhiều nơi khác nghiên cứu từ trước như Broadcom; Hiệp hội Giao tiếp giữa ô tô thành lập vào năm 2002 hay Qualcom cũng thử nghiệm nhiều giải pháp cho công nghệ này, bao gồm cả việc kết hợp giữa Bluetooth, Wi-Fi và 3G/4G LTE.
Việc cải tiến công nghệ không dây cũng đã được Apple áp dụng thành công lên tai nghe không dây Airpods của mình.

Trước đây, CEO Apple – Tim Cook cho biết hãng này đang đầu tư nhiều vào việc xây dựng hệ thống xe tự lái cùng hệ điều hành sử dụng cho ôtô mang tên CarPlay.
Nhiều nguồn tin cho biết Apple đang phát triển những chiếc xe tự lái iCar, theo đó nhiều khả năng hệ thống cảm biến này sẽ được áp dụng lên những mẫu xe tự lái của Apple.
Hiện Apple vẫn chưa đưa ra bình luận gì về hệ thống cảm biến này.