Mazda xác nhận đưa động cơ xoay huyền thoại trở lại vào năm sau
Động cơ xoay huyền thoại của Mazda sẽ đóng vai trò giúp mở rộng phạm vi hoạt động cho một mẫu xe điện hoàn toàn mới, hứa hẹn ra mắt vào năm 2019.
Động cơ xoay của Mazda là một trong những công nghệ mang tính đột phá đã đi vào lịch sử ngành công nghiệp ô tô thế giới. Chẳng còn bao lâu nữa, động cơ này sẽ quay trở lại thị trường, dựa theo lời khẳng định mới của phó chủ tịch bán hàng và dịch vụ khách hàng tại Mazda châu Âu, ông Martijn ten Brink. Nói chuyện với trang ZerAuto.nl, ông Brink đã hé lộ một số thông tin thú vị liên quan tới những kế hoạch trong tương lai của công ty.
Cụ thể, dưới bản kế hoạch Zoom-Zoom 2030 mới, Mazda sẽ chế tạo một mẫu xe điện “thuần chủng”, dự kiến ra mắt trong năm sau. Không có thêm chi tiết nào khác nữa được tiết lộ vào lúc này, nhưng ông Brink khẳng định rằng mẫu xe điện sẽ có sử dụng động cơ xoay Wankel mới làm bộ mở rộng phạm vi hoạt động như một trang bị tùy chọn.

Động cơ xoay nổi tiếng của Mazda
Mặc dù “là không thực cần thiết, bởi vì một người mua xe bình dân thường di chuyển quãng đường trung bình 60 km mỗi ngày từ nhà tới chỗ làm và quay trở lại,” động cơ xoay có mục tiêu chính là “loại bỏ đi bất cứ lo ngại nào từ khách hàng.”
Nhiều khả năng hãng Mazda sẽ trang bị động cơ đĩa đơn và không tăng áp cho mẫu xe điện mới của mình. Động cơ xoay này sẽ hoạt động chủ yếu trong vai trò máy phát điện và sẽ được lắp đặt thấp trong cấu trúc để giữ trọng tâm thấp. Có kích cỡ “to như một hộp giầy,” động cơ có khả năng vận hành không rung và tài xế sẽ không có cảm nhận gì khi nó khởi động.

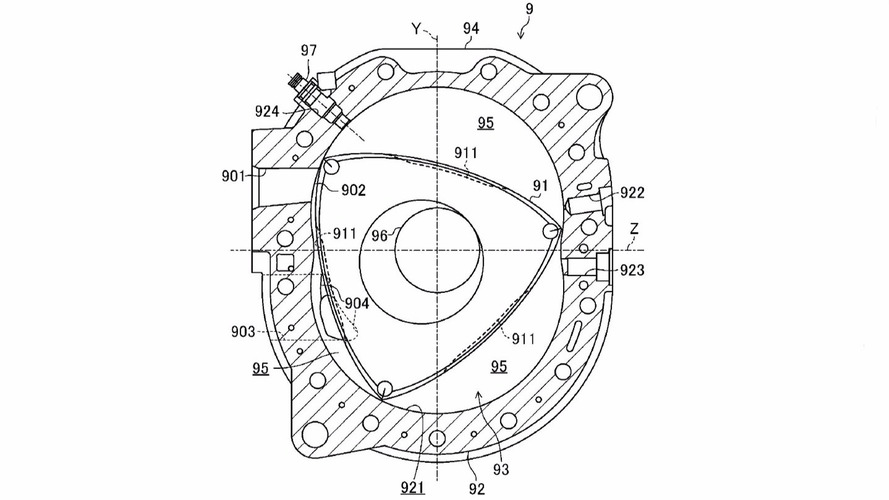
Bản vẽ kết cấu của một động cơ xoay
Tuy nhiên, mặc cho bước thúc đẩy mạnh mẽ sang hướng điện năng, hãng Mazda vẫn tin tưởng động cơ đốt còn tiềm năng. “Trong mắt của Mazda, động cơ đốt nhiên liệu còn lâu mới bị lãng quên,” ông Brink giải thích. “Kể cả trong 15 tới 25 năm nữa, động cơ đốt nhiên liệu vẫn sẽ là một bộ phận quan trọng cho xe, bởi cả loại hybrid và plug-in hybrid đều sử dụng chúng.”
Nhà sản xuất này có kế hoạch gia tăng hiệu suất nhiệt của động cơ đốt trong lên mức 56%, và sẽ giúp các mẫu Mazda tương lai thân thiện với môi trường không kém ô tô điện hiện đại. Công nghệ Skyactiv-X, động cơ xăng nén cháy đầu tiên được sản xuất thương mại, của Mazda sẽ sẵn sàng ra mắt các showroom trong một vài năm tới.