Rò rỉ thông tin về động cơ công nghệ cao của Mazda
Mazda đang phát triển động cơ Homogeneous Charge Compression Ignition (HCCI). Tuy vậy, một số thông tin gần đây cho thấy Mazda còn đăng ký sáng chế cho một động cơ công nghệ cao hiệu quả và thú vị hơn.

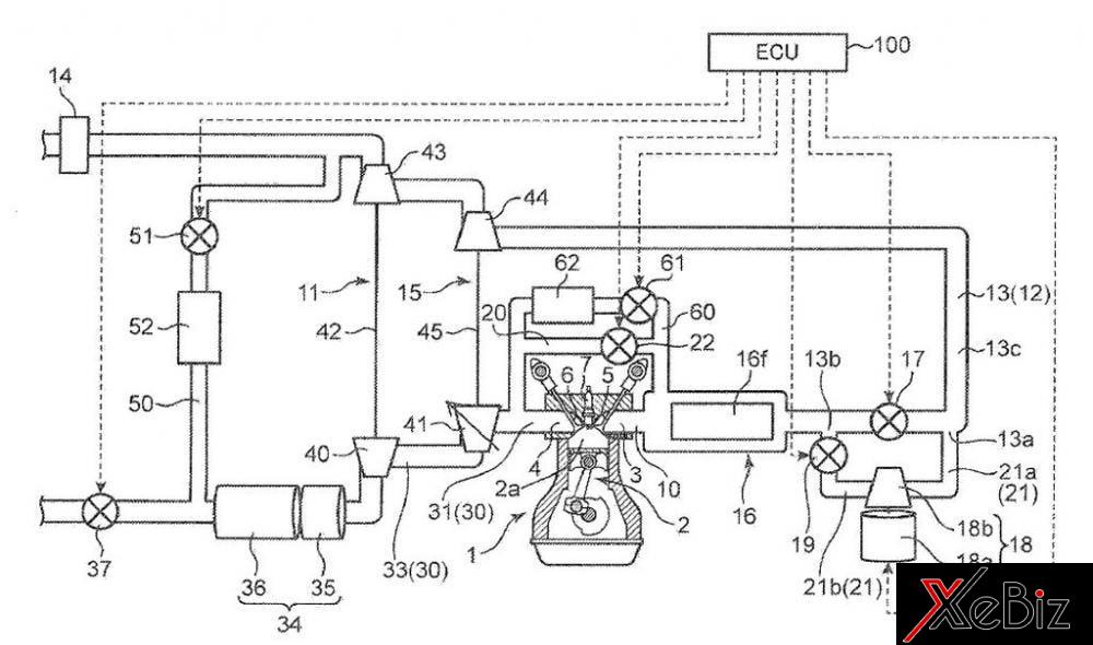
Theo đó, tờ Road and Track đưa thông tin về việc Mazda đã gửi bản đăng ký sáng chế cho động cơ công nghệ cao sử dụng một bộ siêu nạp điện và hai bộ tăng áp. Bộ siêu nạp sẽ làm nhiệm vụ cung cấp năng lượng cấp thấp và bộ tăng áp sẽ đẩy sức mạnh động cơ lên cực đại.
Động cơ công nghệ mới của Mazda dường như có cùng điểm giống với công nghệ đang sử dụng trên mẫu concept Drive-E Powertrain của hãng Volvo. Đây là loại truyền động kết hợp động cơ 2,0 lít 4 xi-lanh với công nghệ Triple Boost Technology.
Tuy vậy, động cơ mới của Mazda có thể sẽ không thể tạo ra công suất 450 mã lực như Volvo. Song, nó sẽ mang đến nhiều lợi ích cho những chiếc xe của hãng như cải thiện hiệu xuất, hạn chế tối ưu khả năng xảy ra trễ turbo.

Mazda vẫn chưa đưa ra thông tin chính xác về việc hãng sẽ hoặc không cung cấp hệ thống Tri-charged. Nhưng theo tờ Road and Track, nhiều khả năng bộ siêu nạp sẽ do hệ thống i-Eloop cung cấp dựa trên tụ điện của Mazda.
Với việc thông tin về bản đăng ký phát minh bị rò rỉ có thể thấy Mazda sẽ sử dụng động cơ này trên một chiếc xe dẫn động cầu sau. Từ đó có thể dự đoán mẫu xe mới của Mazda sẽ là MX-5 hiệu suất cao hoặc chiếc RX-8 tiếp theo.
Song, từ bản đăng ký sáng chế đến khi chuyển thành sản phẩm thực là một con đường dài và không phải lúc nào cũng được các hãng sản xuất ô tô thực hiện. Chính vì vậy, hiện tại mọi thông tin đều là dự đoán cho đến khi Mazda xác nhận chính thức.
 
						