Toyota sáng chế thiết bị giữ đồ dưới ghế ngồi
Toyota vừa gửi đăng ký đối với sáng chế mới của các kỹ sư thuộc hãng. Theo đó, sáng chế này sẽ là giải pháp cho vấn đề rơi đồ trên xe ô tô.

Các hãng sản xuất ô tô luôn đăng ký bằng sáng chế đối với mọi ý tưởng của các kỹ sư, mặc cho nó có khả năng áp dụng trong thực tế hay không. Và mới đây, các kỹ sư của hãng Toyota đã nảy ra một ý tưởng cho vấn đề khá nhỏ nhưng hữu ích nếu nó thành công, đó chính là lấy đồ bị rơi trên xe ô tô.
![]() |
![]() |
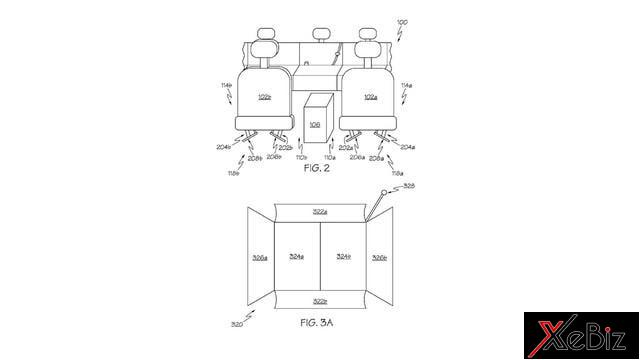
Cụ thể, khe trống giữa ghế ngồi của người lái và táp-lô xe quá hẹp để đưa tay xuống lấy đồ bị rơi, đặc biệt là khá khó với những người có bàn tay to. Đồ vật thường xuyên bị rơi vào khe trống này có thể kể đến như điện thoại, tiền xu hay các món đồ nhỏ có thể bỏ túi.
![]() |
![]() |
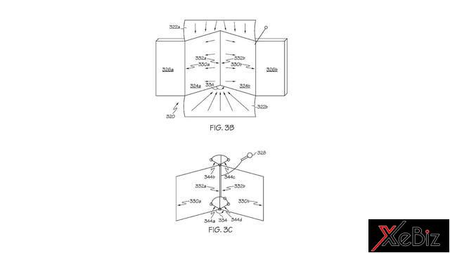
Để giải quyết trường hợp này, hãng sản xuất ô tô Nhật Bản Toyota đã đăng ký với Văn phòng Sáng chế và nhãn hiệu Mỹ giải pháp gọi là “thiết bị giữ đồ dưới ghế ngồi”. Theo đó, thiết bị này sẽ gồm một máng trượt đặt giữa ghế ngồi và táp-lô xe. Nhờ vào bộ truyền động để thay đổi góc của máng trượt và đưa những đồ vật bị rơi vào, sau đó sẽ trượt nhẹ xuống ngăn chứa đặt trực tiếp dưới ghế ngồi.
![]() |
![]() |
Thông tin về thời gian chính thức ứng dụng sáng chế này vào thực tế vẫn chưa được Toyota công bố. Tuy vậy, đây sẽ là một sáng chế hữu ích và được nhiều người trông đợi.





